Our Products

Cast Iron Silent Flanged /
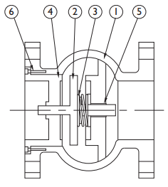
SC125FIBM Flanged

Design Features

· Available in flanged body style. Suitable for installation between FF flanges only.

· Available with aluminum bronze or 316 SS trim.

· Standard metal to metal seating. Optional resilient seats.

· Body meets ASME B16.1

· Testing is performed in accordance with API 598.

SC125FIBM Flanged
Size
(in / mm)
A
(in / mm)
B
(in / mm)
C
(in / mm)
D
(in / mm)
Stud Qty
(in / mm)
Stud Dia.
(in / mm)
Stud Lenght
(in / mm)
Weight
(lb / kg)
CvPrice
2" - 506.25" - 1594.75" - 1212.25" - 572.00" - 5140.63" - 163.25" - 8316 - 7.369
2.5" - 657.00" - 1785.50" - 1402.63" - 672.50" - 6440.63" - 163.50" - 8924 - 10.9108
3" - 807.50" - 1916.38" - 1623.38" - 863.00" - 7640.63" - 163.75" - 9532 - 14.5155
4" - 1008.50" - 2169.00" - 2294.38" - 1114.00" - 10280.63" - 163.75" - 9559 - 26.8277
5" - 1259.50" - 24110.00" - 2545.25" - 1335.00" - 12780.75" - 164.00" - 10275 - 34.1433
6" - 15010.50" - 26711.00" - 2796.25" - 1596.00" - 15280.75" - 164.00" - 10296 - 43.6623
8" - 20013.50" - 34315.50" - 3948.38" - 2138.00" - 20380.75" - 164.25" - 108178 - 80.81109
10" - 25016.25" - 41318.00" - 45710.00" - 25410.00" - 254120.88" - 224.75" - 121280 - 127.11733
12" - 30020.25" - 51421.00" - 53312.00" - 30512.00" - 305120.88" - 224.75" - 121450 - 204.32495
14" - 35022.75" - 57825.00" - 63513.25" - 33713.75" - 337121.00" - 255.25" - 133568 - 257.93397
16" - 40024.75" - 62926.00" - 66015.25" - 38715.75" - 400161.00" - 255.50" - 140840 - 381.44437

Request a Quote
Customer Information
Product
Position
Upload PDF
Message / Comments